Evan Knight+FollowToyota’s Secret Gas Tank HackEver seen someone run out of gas and just... not care? A Toyota Land Cruiser driver went viral after revealing a hidden button that switches to a backup fuel tank—no panic, just more miles. Turns out, dual gas tanks were a thing in old trucks, and people are loving the nostalgia. Commenters joked it’s faster than refueling and shared their own throwback stories. Why did this genius feature ever go away? #Cars #Toyota #CarHacks70Share
Nicole Morgan+FollowToyota’s Secret Mid-Engine Sports Car?!Toyota is about to drop a mid-engine two-seater that’s got everyone losing their minds. After years of rumors, it’s finally happening—think MR2 vibes but with a modern twist. Akio Toyoda himself is behind this, and the Tokyo Auto Salon reveal is set to be epic. Will it be called MR2, Celica, or something totally new? Either way, Toyota’s betting big on fun again, and car fans are here for it. Mark your calendars! #Cars #Toyota #MR200Share
Evan Knight+FollowToyota Mechanic Calls Out Pay DiscrepancyEver wondered how car mechanics actually get paid? A Toyota tech just spilled the tea on TikTok about flat-rate billing and why it’s making some jobs not worth the hassle. He showed how he’s getting paid less for a job that should take longer, all because of the way the manual is written. Turns out, warranty work might be a big reason there’s a shortage of mechanics. Would you stick around for that kind of pay? #Cars #Toyota #MechanicLife32Share
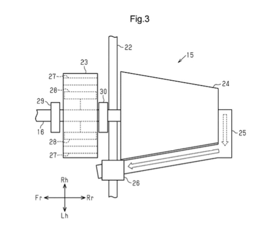
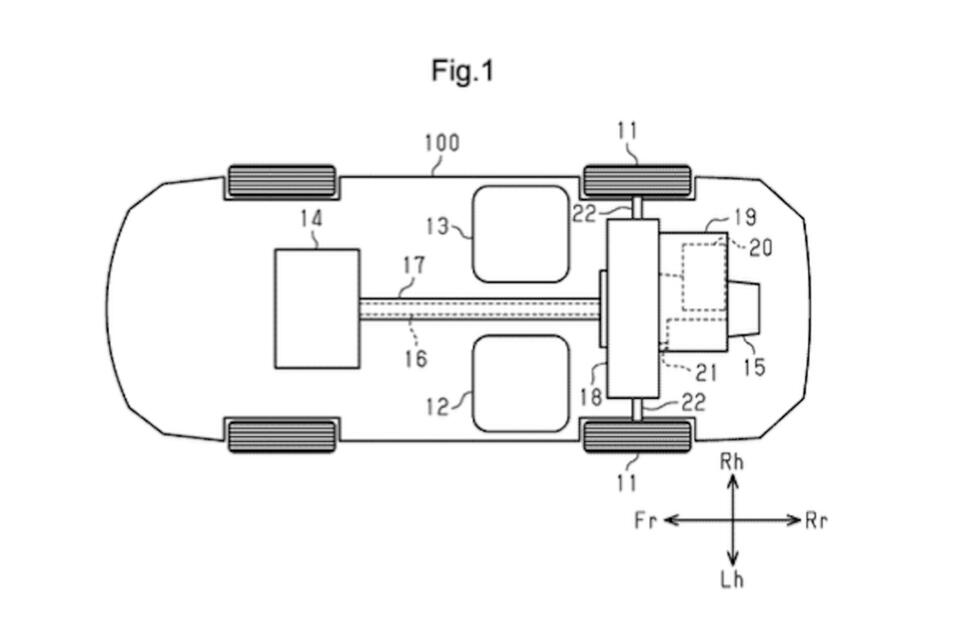
Leah Pierce+FollowToyota’s Hybrid Glow-Up: Better Handling?Toyota’s not just making hybrids for fuel savings anymore—they’re out to make them drive better, too. Their latest patent is all about rearranging where the battery and fuel tank sit, so you get smoother handling, safer crashes, and more grip when you hit the gas. It’s not a new hybrid system, just a smarter setup. Could this be the secret sauce for future Lexus and Toyota sedans? Fingers crossed this one makes it to the streets! #Cars #Toyota #HybridCars10Share
William Goodwin+FollowToyota’s $13K EV Packs LiDAR—No Joke!Toyota just dropped a new electric sedan in China that’s literally half the price of a Corolla and comes loaded with LiDAR, a massive 15.6-inch screen, and some serious AI tech. The bZ3 Smart Home Edition starts at just $13,400 (for now) and even the top model is under $23K. Only catch? It’s China-only for now, but these features are wild for the price! #Cars #Toyota #ElectricVehicle10Share
James Smith+FollowToyota’s Supercar Glow-Up Is WildToyota just dropped the mic on the supercar world. They’re not just making fast daily drivers anymore—think V8-powered GR GT with an all-aluminum chassis, a next-gen electric Lexus LFA, and a new ultra-luxury Century model. They’re gunning for Ferrari, Bentley, and even Rolls-Royce. The GR GT looks like a Batmobile and is priced to match the big names. Toyota’s out here making sure no one calls them boring ever again. #Cars #Toyota #Supercar00Share
Michael Wilson+FollowCar Recall Alert: Is Your Ride on the List?Major car recall drama! Nearly 160,000 vehicles from Toyota, Hyundai, and Ford just got flagged for issues ranging from power loss to fire risks and headlight failures. If you drive a 2025-2026 Camry Hybrid, 2022-2024 Hyundai Tucson, or a new Mustang or Maverick, you might want to check your VIN ASAP. Free repairs are coming, but some fixes aren’t ready yet. Don’t wait—see if your car’s affected! #Cars #CarRecall #Toyota130Share
Leah Pierce+FollowToyota’s V6 Engines Are Basically ExtinctToyota’s V6 engines are almost gone, and honestly, no one’s shocked. The brand has swapped out those beefy six-cylinders for smaller, more efficient hybrid and turbo four-cylinders in almost everything—Camry, Highlander, Tacoma, you name it. It’s all about stricter emissions rules, not just saving gas. Now, only the Tundra and Sequoia have V6s left, and even those are facing recalls. If you’re hoping for a V6 comeback, don’t hold your breath—Toyota’s all-in on hybrids now. #Cars #Toyota #V680Share
stephanie30+FollowToyota’s Secret to Keeping Your Car’s ValueDid you know Toyota is basically the MVP when it comes to cars that don’t lose value? A new study found that Toyota models dominate the top 10 for holding their value after three years. The Corolla Cross barely drops in price, and the 4Runner and C-HR are right behind. If you want a car that won’t tank your wallet when it’s time to sell, Toyota’s where it’s at! #Cars #BuyingCar #Toyota51Share
walkerjason+FollowToyota’s Gearbox Drama: Lawsuits Pile UpAnyone else hearing weird noises from their Toyota? Two new lawsuits claim Toyota’s UA80 eight-speed transmission is quietly failing way too soon—think early upshifts, overheating, and pricey repairs. Some owners are getting stuck with thousands in bills even after Toyota replaces the part. The kicker? The lawsuits say Toyota’s known about these issues for years but didn’t warn customers. If you drive a Camry, Highlander, RAV4, or even a Lexus, you might want to check your ride! #Cars #Toyota #CarProblems110Share